第一章:产品概述
随着国民经济的飞速发展,民用和工业用电量的急剧增大,保障国家电网的安全运行工作越来越重要,在炼蓄晦擀电力系统中,直流电源系统作为继电保护、自动装置、控制操作回路、灯光音响信号及事故照明等电源之用。其正确工作控制与断路器动作性能息息相关。目前变电站的直流馈电网络多采用树状结构,从蓄电池到站内用电设备,一般经过三级配电,每级配电大多采用直流断路器作为保护电器。由于上下级直流断路器保护动作特性不匹配,在直流系统运行过程中,当下级用电设备出现短路故障时,经常引起上一级直流断路器的越级跳闸,从而引起其它馈电线路的断电事故,进而引起变电站一次设备如高压开关、变压器、电容器等的事故。为防止因直流断路器及其它直流保护电器动作特性不匹配带来的隐患,国家电网公司对于新装和运行中的直流保护电器,规定了必须进行安秒特性测试,保证性能与设计相符,以确保直流回路级差配合的正确性。国家电网生技[2005]400号文《国家电网公司十八项电网重大反事故措施》中第十一、十三项反事故措施明文提出了加强对各种断路器、熔断器的事故预防和管理工作要求。同时《预防直流电源系统事故措施》第4.3条规定:“直流系统熔断器应分级配置,上下级熔体应满足选择性配合要求。一个站的直流熔断器或自动空气断路器,原则上应选用同一制造厂系列产品。使用前宜进行安秒特性和动作电流抽检,同一条支路上的空气开关和熔断器不宜混合使用”。
但目前电力系统中使用的直流断路器的技术指标都是生产厂家在设备出厂时提供的数据。现场检修维护人员因不具备相应的检测手段,难以确认直流断路器安秒特性是否符合要求。而且运行实践证明,随着时间的推移,设备的安秒特性也会发生变化,特别是投运3年后,设备的技术指标发生偏移,典型后果是断路器特性发生变化,从而造成拒动、误动或越级跳闸,引起其他馈电线路的断电事故,使故障进一步扩大,严重危及电网的安全运行。为了防止这种事故发生,有必要对直流系统中的各直流断路器安秒特性安秒特性进行测试,确定在不同短路电流下断路器的脱扣时间,有效的对直流断路器安秒特性以及保护等级配合进行分析,从而核对直流系统上下级断路器之间的级差配合是否合理。
国内进行直流断路器安秒特性检测的机构和生产厂家用于直流空开安秒特性检测的设备均为固定设备,如固定的大电流电源、大型负载电阻,体积大、重量大,不便于移动检测,分析仪表均为常规仪表如电压表、电流表、示波器等,接线复杂,使用不便,不适应各变电站移动检测需要。为解决现场对直流断路器实际特性检测的问题,本公司推出了一种适合变电站现场使用、便于携带、自动化程度高的“DAS-1000A直流断路器安秒特性测试仪”,可以为运行维护部门提供直流保护电器动作特性的测试手段,对直流保护电器的动作特性以及级差配合进行校验,以便提高直流系统运行的可靠性,保证电网的安全可靠运行。DAS-1000A直流断路器安秒特性测试仪是专为变电站试验、检修、维护工作而设计。满足直流断路器的超载和短路特性测试,从而提高变电站直流系统的健康水平,避免直流配电网络出现越级跳闸和引发的大面积停电事故。
第二章:装置结构
本仪器采用一体化设计,高性能工控机、大尺寸液晶屏,配合键盘、触摸板输入,操作简单、使用方便。体积小、重量轻,便于携带,适用于变电站现场测试。

①液晶屏 ②键盘 ③触摸板 ④USB接口
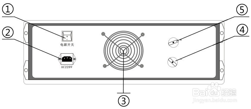
仪器背面结构图如下:

① 电源开关 ② 电源插座 ③ 风扇口 ④ 负级接线柱 ⑤ 正级接线柱
第三章:功能特点
1.主要特点:
1)主控部分采用高性能工控机,Windows XP操作系统,实时显示各项参数曲线图及数值。
2)键盘、触摸板输入(可外接USB鼠标);5.7寸TFT真彩液晶屏显示。操作简单、界面美观,所有参数一目了然。
3)开关恒流控制技术,新型功率器件,1A~1000A自主设定恒流输出,恒流精度高,负载能力强,可长时间稳定工作。
4)适用于额定电流1A~1000A直流断路器的安秒特性测试,并可用于6A~100A直流熔断器的安秒特性测试。
5)测量方式采用全点测试或抽点测试,响应速度快,测试精度高,安全可靠。
6)仪器具有过热、过流、过压保护功能,电磁兼容性好,抗干扰能力强。
7)测试管理软件可自动完成直流断路器的安秒特性的测试,并分析测试数据绘制出断路器保护特性曲线(安秒曲线)、以及生成报表输出。
8)工控机自带4G存储空间,可任意存储测试记录,并配备了两个USB接口,方便测试记录的提取和打印。
9)仪器采用一体化设计,便于携带。
2.主要功能
按照GB10963-1999家用及类似场所用过电流保护断路器标准规定断路器应做脱扣特性试验。
1)时间-电流特性试验
①从冷态开始,对断路器通以1.13In(约定不脱扣电流)的电流至约定时间,断路器不应脱扣。然后在5s内把电流稳定升至1.45In(约定脱扣电流)的电流,断路器应在约定时间内脱扣。
②从冷态开始,对断路器的各级通以2.55In的电流,断开时间应大于1s,并且对于额定电流小于等于63A的断路器断开时间应小于60s,对于额定电流大于63A的断路器断开时间应小于120s。
2)瞬时脱扣试验
①对于B型断路器:从冷态开始,对断路器的各级通以3In的电流,断开时间应大于0.1s;然后再从冷态开始,对断路器的各级通以5In的电流,断开时间应小于0.1s。
②对于C型断路器:从冷态开始,对断路器的各级通以5In的电流,断开时间应大于0.1s;然后再从冷态开始,对断路器的各级通以10In的电流,断开时间应小于0.1s。
③对于D型断路器:从冷态开始,对断路器的各级通以10In的电流,断开时间应大于0.1s;然后再从冷态开始,对断路器的各级通以50In的电流,断开时间应小于0.1s。这两个试验均应满足时间-电流动作特性表。
时间-电流动作特性


注:⑴电流5s内稳定至设定值。
⑵冷态指试验前未带负载,而且在基准的校准温度下进行。
第四章:技术指标
工作电压:AC220V、50Hz
环境温度:-20℃~50℃
工作湿度:≤90%RH
测试电流:1~1000A
测试电流纹波系数:< 2%
输出电流稳定性:≤±1%
时间记录范围:1ms~1000s
最小时间分辨率:0.1ms
操作方式:键盘、触摸板(可外接USB鼠标)
外形尺寸:530mm×470mm×200mm
仪器重量:25kg
仪器外壳:铝合金仪表箱
第五章:操作方法
1. 测试准备
将仪器平稳放置在台面上,然后取出附件包中的大电流线将直流断路器与仪器的背后的正负接线柱连接起来。若直流断路器为双联开关,则需要用附件中的短接线将直流断路器的一端短接起来。插上电源线,开启仪器背后的电源开关,仪器正常开机后初始化WindowsXP操作系统,并自动运行直流断路器安秒特性测试系统。
2.界面介绍

图1 直流断路器安秒特性测试系统主界面
如图1所示,直流断路器安秒特性测系统的主界面包括标题栏、菜单栏、工具栏和工作窗口。
1)标题栏,显示软件的名称。

2)菜单栏,单击菜单栏的每一项都可打开下级子菜单。“文件”项下级菜单中可执行打印功能,包括打印预览,打印设置和退出(如图2);“设置”项在主界面下无效,在测试界面中才可设置断路器准备时间和通讯设置(如图3);“操作”项为该软件可执行的各项功能(如图4);“查看”项的下级菜单可执行工具栏和状态栏的显示和隐藏(如图5);“帮助”项为该软件的的版本号。
3)工具栏,为该软件的可执行的各项功能,用户可直接点
击工具栏上的图标打开,也可执行菜单栏中“操作”项的下级菜单打开。
4)工作窗口,在主界面中工作窗口为欢迎界面,当点击工具栏上的各项功能后,工作窗口会相应的改变或弹出对话框。
3.测试方法
直流断路器安秒特性测系统是集设备信息管理与现场测试为一体的系统,方便用户管理不同厂家不同型号的直流断路器的设备信息与详细的测试记录。用户在使用本仪器测试直流断路器时首先需要将被测断路器的生产厂家,型号和基本参数信息添加到系统的厂站管理和设备管理中,然后在测试界面中的“厂家名称”和“断路器编号”里进行选择,最后设置好测试方式和实验电流比就可以进行测试,具体方法如下:
1)添加厂站信息
点击工具栏上的厂站管理图标(或点击“操作”项下级菜单“厂站管理”)会弹出厂站管理的对话框如图6所示,对话框内会以表格的形式显示各厂站的信息,对话框的下方有“添加”、“修改”、“删除”、“确定”、“取消”等操作按钮。

图6 厂站管理
点击“添加”按钮会弹出如图7所示对话框,用户可以在对话框中填写待测断路器的生产厂家以及联系人等信息如图8所示。

填写完成后点击“添加”按钮即可完成厂站信息的添加,如图9所示。

另外在该界面中,用户还可以对已添加的厂站信息进行修改和删除。若用户需要修改已存的厂站信息,首先选中需要修改的厂家,然后点击“修改”按钮,在弹出的对话框中对厂站信息进行修改(注意厂站名无法修改),修改完厂站信息后,点击“修改”即保存修改后的厂站信息,点击“取消”则不保存。若用户需要删除站点信息,选中一条站点信息然后点击“删除”按钮在弹出的对话框中点击“是”即可删除,点“否”则不删除。
2)添加直流断路器型号
点击工具栏上的设备管理图标(或点击“操作”项的下级菜单“设备台账”)会弹出设备管理的对话框如图10所示。对话框内会以表格的形式显示设备的信息,对话框的下方有“添加”、“修改”、“删除”、“确定”、“取消”等按钮。

图10 设备管理
点击“厂站设备选择”右边的下三角按钮,在弹出的下拉列表中选中刚添加的“厂站3”(如图11),列表中设备信息也随之改变,

图11

然后点击“添加”按钮,在弹出的图12的对话框中填写设备信息。“编号”、“启用日期”、“备注”等用户可随意输入,“品牌”、“产品号”、“类型”等参数用户则需要参照被测断路器上的厂家给出的标注进行填写(如图13所示)。参数设置完成后点击“确定”完成设备型号的添加,如图14所示。

图14
另外在该界面中用户还可以对已添加的设备信息进行“修改”和“删除”。若用户需要修改设备信息,首先选中需要修改的设备编号,然后点击“修改”按钮,在弹出的对话框中对断路器参数信息进行修改,修改完成后,点击“确定”则保存修改后的设备信息,点击“取消”不修改。用户需要删除设备信息,选中一条设备信息然后点击“删除”,在弹出的对话框中点击“是”即可删除,点“否”则不删除。
3)现场测试
点击工具栏上的现场测试图标(或点击“操作”菜单项的下级菜单“现场测试”)会显示现场测试的工作界面如图15所示。

图15现场测试界面
该界面的工作窗口主要分5个区:信息区、数据区、状态区、操作按钮、曲线图。
信息区:该区域主要显示被测断路器的基本参数,用户需要填写测试单位和测试人姓名,在“厂站名称”和“断路器编号”选项卡中可以选择已存的所有不同厂家不同型号的断路器。
数据区:该区域用户需要选择测试方式:抽点测试和全点测试。抽点测试是根据测试需要由用户根据被测试直流断路器的额定电流,确定测试电流,一般微型断路器测试电流≥3In,塑壳断路器测试电流≥5In。若选择抽点方式表格上显示的测试数据分5类(如图16):序号、开始时间、实验电流比、测试时长和

电流值。全点测试是用户根据被测试直流断路器的额定电流,依次设定多个电流值进行测试,测试电流一般取被测试直流断路器额定电流的整数倍,一般微型断路器从3In开始,塑壳断路器从5In开始,然后依次增加,当被测试直流断路器连续出现两个瞬时分断特征时,测试结束。若选择全点方式后表格上显示的测试数据分7类(如图17):序号、电流比、T1、T2、T3、平均时间、电流值。T1、T2、T3为三次测试的值,平均时间为三次测试完成后的平均值。选择好测试方式后用户通过设置电流比来设置电流值,电流值区域会根据用户输入的电流比显示对应的电流值。

状态区:该区域会实时显示仪器当前状态,已运行时间,断路器准备时间。“运行提示”部分会根据用户的按键操作显示相应的工作状态,“已运行时间”为测试时点击开始测试后通电流到断路器断开之间测试时间,“断路器准备时间”为指两次测试之间等待时间,默认为180秒,用户可自己设置。如图18所示
点击“设置”下级菜单中的“断路器准备时间”就会弹出该对话框,先删除上面显示的时间值,然后输入需要设置的时间,点击确定设置完成。
操作按钮:该区域包括“保存数据”、“重新开始”、“开始测试”、“人工终止”、“通信自检”五个功能。“人工终止”用于测试过程异常时手动停止测试,“通信自检”用于检测工控机与控制器之间是否连接正常。
曲线图:该区域显示测试电流和分断时间的曲线关系,曲线纵坐标为时间轴,采用对数坐标,横坐标为电流倍数。
在断路器信息区域用户需要输入测试单位名称和测试者姓名,然后选择之前添加的被测断路器型号,点击“厂站名称”右边的下三角按钮,如图19在弹出的下拉列表中选择“厂站3”,点击“断路器编号”右边的下三角按钮,如图20在弹出的下拉列表中选择D003,其他参数信息就会相应的显示出来。

如图21所示选择抽点测试或全点测试,然后输入实验电流比。

抽点测试和全点测试的方法如下:
4)抽点测试
步骤1:设置好断路器信息,输入实验电流比,点击“通信自检”按钮会弹出一个对话框显示通信正常如图22所示。
步骤2:点击“开始测试”按钮,“开始测试”按钮变成灰色,状态栏提示开始测试,运行时间开始计时。经过一段时间后,被测试直流断路器自动断开,表格上显示序号1详细测试结果,断路器准备时间开始倒计时,曲线图上显示测试结果坐标点(如图23)。
步骤3:等待断路器准备时间结束,“开始测试”按钮恢复正常可继续测试,用户需闭合被测试直流断路器,重复步骤1-2,直到操作者认为可以结束测试为止。

图23抽点测试

图24全点测试
5)全点测试
步骤1:设置好断路器信息,输入实验电流比,点击“通信自检”按钮会弹出一个对话框显示通信正常如图22所示。
步骤2:点击“开始测试”按钮,“开始测试”按钮变成灰色,状态栏提示开始测试,运行时间开始计时。经过一段时间后,被测试直流断路器自动断开,表格上显示序号1的测试结果,其中T1项显示测试值,断路器准备时间开始倒计时。
步骤3:等待断路器准备时间结束,“开始测试”按钮恢复正常即可继续测试,重复步骤2,当T3项显示测试值,曲线图上出现一个测试坐标点(如图24),该测试点的纵坐标等于该电流下三次断开时间的平均值。
步骤4:输入值加1后的实验电流比,重复2-3的步骤。
步骤5:重复步骤4,当直流断路器连续出现两个小于10ms的测试点后,该直流断路器的全点测试完成。
测试的过程中若遇到异常现象时应及时的点击“人工停止”按钮停止测试,避免发生意外。
测试完成后,用户可以点击“保存数据”按钮保存测试结果。
用户也可点击“重新开始”按钮清除测试结果重新测试。
4.记录查询
直流断路器安秒特性测试系统除现场测试功能外,还能即时保存详细的测试记录,方便用户管理查询。

图24 记录查询
点击工具栏上的记录查询图标(或点击“操作”项的下级菜单“记录查询”)会弹出记录查询的对话框如图24所示。
该界面左边的工作区上的厂站信息列表里保存了已添加的所有厂家不同型号的直流断路器的详细的测试资料。点击厂家前面的小+号可展开厂家所有型号的直流断路器的编号,双击选中编号可查看该编号下直流断路器的详细测试资料(如图25所示),所有测试的参数信息加上安秒特性曲线,界面简单直观,一目了然,用户可随意查看。在实验结论区域,用户可以对实验结论加以说明保存。点击“输出报表”可以将实验结果生成word文档加以保存。若仪器连接了打印机,执行菜单栏中的“文件”下级菜单中的打印即可打印测试结果。

图25 详细记录
第六章:注意事项
1.使用前请检查仪器是否可靠接地。
2.待测直流短路器是否已经断开其它电气连接,是否合闸。
3.本装置为1~1000A直流输出,务必使每一个接触点接牢拧紧。
4.结束工作后需拆卸下大电流线并放入附件包中妥善保管。
5.等系统正常关机后,才能关闭仪器背后的电源开关。
第七章:保管运输
1.该仪器装置属于精密电子产品,应放于温度-30~70℃,相对湿度不超过90%,且空气中不含有足以引起腐蚀的气体。
2.校验仪的运输,应避免剧烈振动和撞击,并防止雨雪浸湿。